聯系人:寧工:13532886368
電話:0769-85588096
傳真:0769-82688299
郵箱:13532886368@163.com
網址:m.zw120.cn
地址:廣東省東莞市厚街鎮三屯中心大路南一街
單螺桿擠出機機頭和口膜的說明
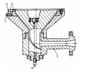
本方法為塑膠的平擠上吹法,是向上擠出管狀坯料的裝置,因而它的機頭和口模是轉向式的直角型。口模的縫隙的寬帶和長度與出膜的厚度有著對應的關系。在出廠前,口模的縫隙是經過嚴格調整過的,用戶不必再行調整,若因外力的作用而使縫隙偏離時,則必須調正。其調正的目的是使膜管圓周壁厚一致。
1芯棒軸 2口模 3調節螺釘 4壓縮空氣入口 5機頸
1. 冷卻風環
風環是出膜的冷卻裝置。它位于口模(模頭)的上方膜管四周,旋轉可調節出風量的大小,以控制膜管的冷卻速度。一般來說,順時針旋轉(向下)出風量變大,冷卻速度就變快。逆時針旋轉(向上)出風量減少,冷卻速度就變慢。出風量的大小直接影響到膜泡的穩定性。而膜泡的不穩定性可能是引起折皺的主要原因。
2. 牽引裝置
在機頭處通入壓縮空氣使管坯吹脹成膜管、調節壓縮空氣的通入量可以控制管膜的膨脹程度。
吹膜比的大小表示管坯直徑的變化。表明了粘流態下高分子受到橫向拉伸作用力的大小,通常的吹膜比在2—6之間。
吹塑是一個連續成型的過程。在實際生產中往往都是同一環形間隙口模,靠調節不同的牽引速度來控制薄膜的厚度,故吹塑薄膜縱橫向機械強度并不相同,一般都是縱向強度大于橫向強度。
人字板的作用是穩定以冷卻的膜管,不讓它晃動,并將膜管夾平。牽引夾輥是由一個橡膠輥筒和金屬輥筒組成,其作用是牽引和拉伸薄膜,速度是可以調節的,牽引輥筒到口模的距離對成型過程的膜管性能有一定的影響,這決定了膜管壓疊成雙折前的冷卻時間,這一時間與塑膠的熱性能有關。
3. 收卷裝置
是將吹塑出來的制品卷取的裝置。它由一個橡膠輥筒和一個金屬輥筒以及一個收卷輥筒組成,標準配置的力矩電機可根據負荷阻力的大小來調節運轉。
4. 空氣壓縮機
在本吹膜機組里的作用為提供空氣吹脹和冷卻膜管。籍由可以調節的氣閥和風環來改變給氣量的大小,形成吹膜或冷卻膜管。給氣量愈大,膜管擴徑越大,反之越小。在實際操作過程中,應該反復細致的調節氣閥和風環進氣量,直至形成穩定的膜管。
5. 電控柜
吹膜機組的電器控制箱,包括單螺桿擠出機、牽引裝置、收卷裝置、鼓風裝置、螺桿機的啟動與調速、加熱與停止等功能。牽引裝置的啟動與調速。收卷裝置的啟動以調速等功能。
